Στο κυνήγι της Amazon, η Walmart σχεδιάζει φουτουριστική ιπτάμενη αποθήκη

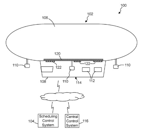
Δίπλωμα ευρεσιτεχνίας για μια… ιπτάμενη αποθήκη, από την οποία θα απελευθερώνονται drones, προκειμένου να παραδίδουν παραγγελίες στους πελάτες, έχει καταθέσει η Walmart, σύμφωνα με το πρακτορείο Bloomberg. Το ιδιότυπο αερόπλοιο, που φιλοδοξεί να θέσει σε λειτουργία η μεγαλύτερη εταιρεία λιανεμπορίου παγκοσμίως, θα πετάει μεταξύ 500 και 1.000 ποδιών (έως και 305 μέτρα) πάνω από το έδαφος και θα λειτουργεί αυτόνομα ή θα ελέγχεται εξ αποστάσεως από κάποιον χειριστή.
Στην εταιρεία Amazon, η οποία δραστηριοποιείται στην πώληση αγαθών και υπηρεσιών μέσω του διαδικτύου, έχει ήδη χορηγηθεί δίπλωμα ευρεσιτεχνίας για παρόμοια κατασκευή τον Απρίλιο του 2016. Η κίνηση της Walmart σε αυτήν τη χρονική συγκυρία κατά πολλούς σηματοδοτεί το άνοιγμα ενός νέου μετώπου στη μάχη που μαίνεται ανάμεσα στις δύο ανταγωνίστριες εταιρείες.
Η εναέρια αποθήκη πιθανότατα θα εξοικονομήσει χρόνο και χρήματα στη Walmart κατά την παράδοση των παραγγελιών. Σύμφωνα με τον αναλυτή της Sanford C. Bernstein, Brandon Fletcher, μια κινητή αποθήκη δύναται να εξυπηρετήσει ευρύτερες περιοχές διανομής, σε αντίθεση με μια συμβατική, που μπορεί να καλύψει μόνο παραγγελίες σε σταθερή απόσταση. «Ο κόσμος του ηλεκτρονικού εμπορίου πάσχει από μεγάλη μεταβλητότητα στη ζήτηση και απαιτούνται δημιουργικές λύσεις», επισημαίνει ο Fletcher.
Η αίτηση της Walmart έχει αρκετές πιθανότητες να εγκριθεί, καθώς είναι περισσότερο λεπτομερής σε σχέση με την πατέντα της Amazon. Η τελευταία μπορεί να εκληφθεί περισσότερο ως μια γενικότερη περιγραφή της έννοιας των συστημάτων αερομεταφοράς, σύμφωνα με τον Khaled Fekih-Romdhane, διευθύνοντα σύμβουλο της εταιρείας παραχώρησης αδειών εκμετάλλευσης διπλωμάτων ευρεσιτεχνίας Longhorn IP.
H ιδιότυπη αποθήκη:









